证券时报·e公司
王小伟
12-18 16:35
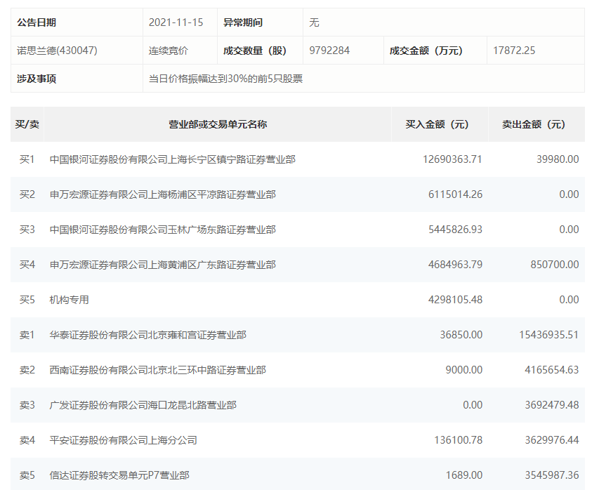
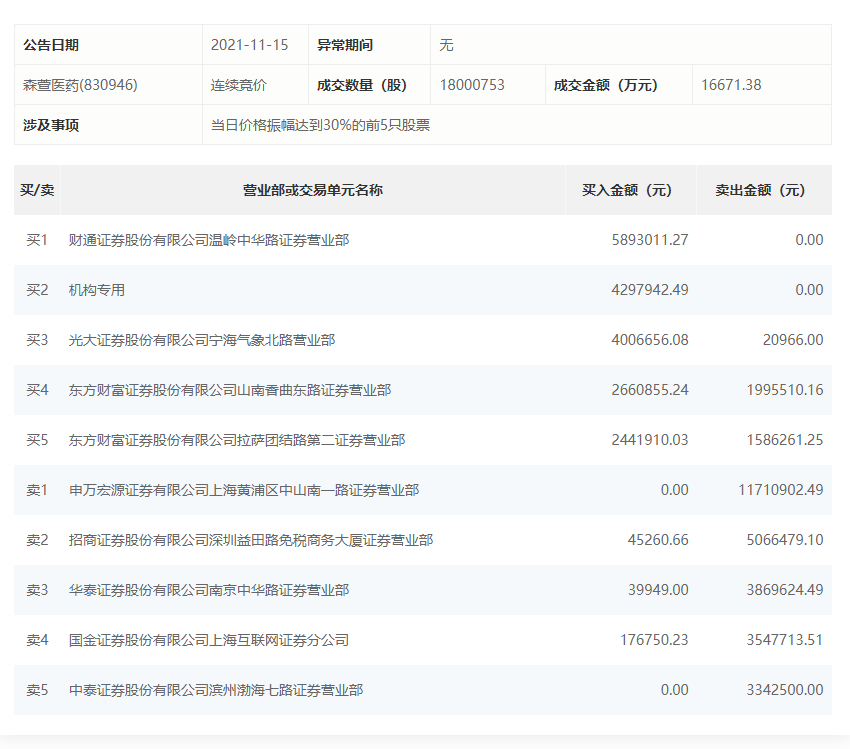
e公司讯,北交所公司首日龙虎榜:诺思兰德(430047)今日跌逾6%,机构买入429万元,银河证券股份有限公司上海长宁区镇宁路证券营业部买入1269万元;森萱医药(830946)跌近8%,机构买入429万元,财通证券股份有限公司温岭中华路证券营业部买入589万元。

