11月24日,新力金融(600318)召开现场董事会,正式审议通过了《关于本次重大资产置换及发行股份购买资产并募集配套资金暨关联交易方案的议案》。
方案披露,新力金融拟以重大资产置换、发行股份购买资产的方式购,将金融业务置出上市公司,购买深圳市比克动力电池有限公司(以下简称比克动力)75.62%的股权,并募集配套资金。
需要指出的是,比克动力尚有大额未清偿债务、还存在大量未决诉讼等情况,最近最近两年一期净利均亏损状态。经申请,新力金融将于11月25日开市起复牌交易,但鉴于此次重组事项涉及的审计、评估工作尚未完成,决定暂不召开审议此次重组事项的临时股东大会。相关议案尚需提交新力金融股东大会审议,并经出席会议的非关联股东所持表决权的2/3以上表决通过。
2018年比克动力曾估值百亿元
此次交易方案包括重大资产置换、发行股份购买资产及募集配套资金三个部分。其中,上市公司重大资产置换、发行股份购买资产互为条件、同步实施,如其中任何一项未获得所需的批准,则此次交易其他项均不予实施。而募集配套资金则以重大资产置换、发行股份购买资产的成功实施为前提,但募集配套资金成功与否不影响重大资产置换、发行股份购买资产的实施。
具体来看,新力金融拟将其持有的融资担保、小额贷款、典当和融资租赁等类金融业务的公司股权置出上市公司,并与深圳市比克电池有限公司(以下简称比克电池)或西藏浩泽商贸有限公司(以下简称西藏浩泽)持有的比克动力全部股权的等值部分进行置换。
新力金融将拟置出资产直接进行置换,置出资产的最终承接主体为新力金融控股股东安徽新力科创集团有限公司(以下简称新力集团)或其指定的第三方。具体来看,拟置出资产包括安徽德润融资租赁股份有限公司58.48%股权、安徽德信融资担保有限公司100%股权、安徽德众金融信息服务有限公司67.50%股权、合肥德善小额贷款股份有限公司56.51%股权、安徽德合典当有限公司77.05%股权。
此外,新力金融拟向交易对方以发行股份的方式购,买拟置入资产与拟置出资产交易价格的差额部分,待此次交易完成后,比克动力将成为上市公司的控股子公司。与之同时,新力金融拟向不超过35名特定投资者以定增方式募集配套资金,募资总额不超过此次交易中拟以发行股份购买资产的交易价格的100%,且发行股份数量不超过此次交易中发行股份购买资产后上市公司总股本的30%。
截至目前,上述交易涉及的审计、评估工作尚未完成,此次重组标的资产的交易价格尚未最终确定。新力金融预计,此次交易拟置出资产或拟置入资产的资产总额、资产净额与交易价格的较高者、营业收入占上市公司2020年度经审计的合并财务报表相关财务指标的比例均达到50%以上。此外,经协商,此次交易向交易对方发行股份的价格暂定为7.27元/股。
时间回溯到2016年,长信科技曾以8亿元增资比克动力,入股后持股比例为10%,估值为80亿元;2018年3月~5月,中利集团对比克动力增持,以8.5亿元分三次入股比克动力,累计获得8.29%股权,据此测算,比克动力当时的估值约为102亿元。
需要指出的是,此次交易前,新力金融控股股东为新力集团,实控人则为安徽省供销合作社联合社;交易完成后,上市公司的控股股东和实控人未发生变化。
因为,根据交易各方签署的《合作框架协议》,交易的先决条件为:新力金融将与其现有股东及未来拟成为其股东的主要交易对方,协商并将其所持有上市公司全部表决权不可撤销地委托给新力集团,以确保实控人在此次交易前后保持不变。截至预案签署日,新力金融已与长信科技签署附条件生效的《表决权委托协议》,长信科技在交易完成后将其所持上市公司全部表决权委托给新力集团。
业绩有所转好但仍困难重重
在此次交易前,新力金融主要从事融资担保、小额贷款、典当、融资租赁、软件和信息技术服务等业务;若交易顺利完成后,该上市公司主营业务将转变为锂离子电池研发、生产及销售,主要产品包括圆柱形电池、聚合物电池和方型电池等。
作为交易的绝对主角,比克动力虽并未实现独立上市,但该公司早已是资本市场和财经舆论的老熟脸。曾几何时,比克动力获得长信科技、中利集团等多家上市公司入股,短暂的高光之后,比克动力却不幸深陷众泰汽车欠款泥潭。随后,比克动力现金流压力巨大,更连带牵出了容百科技、新宙邦、杭可科技应收账款危机,一时间深陷漩涡中心。
2021年以来,比克动力债务压力已有所缓解,截至6月28日,容百科技对比克动力及郑州比克电池有限公司总计2.08亿元的逾期账款通过现金回款、货款相抵等方式实现全部收回。但是,由于目前仍有较大资本性支出及大额应收账款回收的不确定性,比克动力经营资金仍较为紧张。

近期,比克动力业绩情况转好,经营活动现金流量有所改善。根据财报显示,2019年、2020年及2021年前三季度,比克动力营业收入分别为13.83亿元、15.64亿元和16.9亿元,净利润分别为-7.68亿元、-10.02亿元和-1706.22万元。
除经营持续亏损外,比克动力还存在大量未决诉讼,涉及客户、供应商及股东等,主要包括起诉客户、因拖欠供应商货款被起诉、因触发股权回购及业绩补偿被股东起诉等,涉诉金额较大,存在潜在负债事项。
一旦上述重大未决诉讼导致比克动力担责或对被告难以追偿,将会对其经营产生重大不利影响。目前,比克动力尚有大额未清偿债务,且部分债务已经逾期,存在银行账户被冻结情形。
不仅如此,比克动力控股股东、实控人因合同纠纷、增资纠纷和借款合同纠纷等事项涉及多项诉讼,且存在被列入失信被执行人或被限制高消费等情形。若其持有的拟置入资产因上述事项被法院强制执行,则将对比克动力资产经营产生不利影响,或导致控股股东、实控人无法完成此次交易相关的业绩承诺及回购补偿。

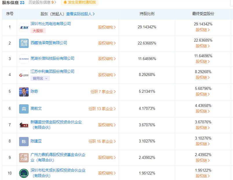
天眼查数据显示,比克动力前两大股东分别为比克电池、西藏浩泽商贸有限公司,为实控人李向前、魏宪菊旗下公司,持股比例为29.14%、22.64%,累计达51.78%。除此之外,比克动力第三大股东为创业板上市公司长信科技,目前持股比例为11.65%;第四大股东为中利集团,持股比例为8.29%;持股5.21%、4.17%的第五、六大股东系自然人陈奇、髙前文,为长信科技前实控人。
根据深圳市市场监督管理局商事主体登记及备案信息网络查询的结果,比克动力股东比克电池持有的29.14%股权、西藏浩泽持有的22.64%股权、中利集团持有的8.29%股权和陈建亚持有的1.5%股权等均处于质押状态;同时,比克电池持有的29.14%的股权、西藏浩泽持有的22.64%股权和陈建亚持有的3.10%股权等均处于司法冻结状态。
新力金融表示,比克动力深耕电池领域多年,市场前景广阔,需要持续投入大量资金来增加产能以适应现时客户的需求及未来市场规模的扩大。