首页
推荐
快讯
解读
股市
港股通
视听
专题
行情
数据
公众号
APP
电子报
您当前的位置:
证券时报·e公司
>
快讯
>
详情
光线传媒日价格振幅达49.71% 一机构卖出3.3亿元
来源:证券时报·e公司
作者:李在山
2025-02-17 16:32
Aa
大号字
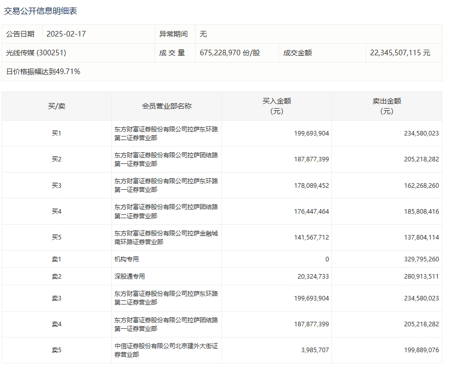
e公司讯,光线传媒(300251)今日价格振幅达到49.71%,成交额223.46亿元。盘后龙虎榜数据显示,深股通买入2032.47万元并卖出2.81亿元(净卖出2.61亿元),一机构卖出3.3亿元。
责任编辑: 许擎天梅
光线传媒
e公司声明:文章提及个股及内容仅供参考,不构成投资建议。投资者据此操作,风险自担。
微信
QQ空间
QQ
微博
更多相关文章
科兴医疗重组Ⅲ型胶原蛋白医疗器械临床试验首例受试者入组 开启...
近日,科兴制药(688136.SH)全资子公司深圳科兴医疗器械有限公司(以下简称“科兴医疗”)自主研发的GB14项目重组Ⅲ型胶原蛋白,第三类医疗器械产品——“重组Ⅲ型人源化胶原蛋白冻干纤维”,已通过广...
证券时报·e公司
12-17 19:04
2家机构还在整改!违规金融App,最新通报!
12月17日,中国互联网金融协会最新通报了违规移动金融App的自律检查情况。通报显示,今年9月,中国互联网金融协会组织对10款App开展了非现场检查,发现了一些问题和风险。所涉App的运营机构包括银行...
券商中国
12-17 19:02
明日复牌!中金收购东兴、信达,方案出炉!
备受市场瞩目的中金公司吸收合并东兴证券、信达证券,迎来重要进展。12月17日,上述三家上市券商齐发公告:每股东兴证券、信达证券能换取中金公司股票的比例,分别确定为1:0.4373、1:0.5188。此...
券商中国
12-17 19:02
主力资金 | CPO热门股获主力资金抢筹
通信行业主力资金净流入45.29亿元。三大指数今日(12月17日)集体走强,行业板块多数收涨,能源金属、贵金属、保险、电池、化肥行业、小金属、电源设备、有色金属板块涨幅居前,装修装饰、航天航空板块跌幅...
数据宝
12-17 19:02
000592股价跳水,曾一度暴涨超5倍!全球最大规模绿色氢氨...
政策层面驱动、绿氢技术的发展以及市场对于风光新能源的消纳需求,驱动着氢氨醇一体化之热。多只热门股遭重创今日(12月17日)午后,A股大盘指数大幅拉升,上证指数盘中一度涨超1.4%,收盘涨幅回落至1.1...
数据宝
12-17 19:02
市场监管总局:“全网最低价”可能构成垄断
记者17日从市场监管总局获悉,平台要求商家“全网最低价”,可能构成滥用市场支配地位或者垄断协议行为。当日,市场监管总局举行新闻发布会,介绍民生领域反垄断执法相关情况。市场监管总局反垄断执法一司副司长刘...
证券时报
12-17 18:57
更多
热门解读
更多
视频推荐
更多
热门股票
更多
股票名称
最新价
涨跌幅
APP
公众号
寻求
报道
帮助
反馈
回到
顶部