首页
推荐
快讯
解读
股市
港股通
视听
专题
行情
数据
公众号
APP
电子报
您当前的位置:
证券时报·e公司
>
快讯
>
详情
金风科技今日涨停 深股通买入6.35亿元并卖出6.02亿元
来源:人民财讯
作者:许擎天梅
2026-01-06 16:48
Aa
大号字
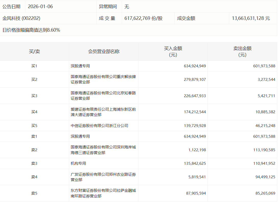
人民财讯1月6日电,金风科技今日涨停,成交额136.64亿元,盘后龙虎榜数据显示,深股通专用席位买入6.35亿元并卖出6.02亿元,1家机构专用席位净买入2490.07万元。
责任编辑: 郑灶金
金风科技
深股通
涨停
成交额
e公司声明:文章提及个股及内容仅供参考,不构成投资建议。投资者据此操作,风险自担。
微信
QQ空间
QQ
微博
更多相关文章
刚刚!伊朗,发动猛烈袭击!
周末,伊朗局势仍未降温!就在刚刚,伊朗发动“真实承诺-4”第95轮行动,美军在中东地区的多个基点遭袭,以色列多地也遭到伊朗“卡德尔”导弹的猛烈打击。此外,一艘与以色列有关的船只也被伊朗的一架无人机击中...
券商中国
04-04 22:16
中东,最新!伊朗红新月会:美以袭击致763所学校遭到破坏
当地时间4月4日,伊朗红新月会负责人表示,截至目前,伊朗共有22810个商业设施在袭击中受损,另有322个医疗与卫生中心、763所学校、18个科研与大学机构以及20个红新月会中心遭到破坏。此外,包括3...
e公司
04-04 22:16
突然拉升!美联储、鲍威尔,突发!降息,大消息!
周末仍在交易的加密货币多数上涨,其中比特币一度出现拉升,重回67000美元上方。根据 CoinGlass 数据统计,最近24小时,全球共有超6万人爆仓。消息面上,美联储,传出新消息!美国哥伦比亚特区联...
e公司
04-04 22:16
霍尔木兹,突发!伊外长:伊朗从未拒绝前往伊斯兰堡
伊朗伊斯兰革命卫队海军司令部当地时间4日表示,伊朗的一架无人机击中了霍尔木兹海峡内一艘与以色列有关的船只,并引发大规模火灾。伊朗称霍尔木兹甘省2座港口遭袭当地时间4日,伊朗霍尔木兹甘省官员表示,美国和...
e公司
04-04 20:35
产品涨价!300821,一季度盈利或翻4倍!
4月3日晚,东岳硅材(300821)披露2026年一季度业绩预告。东岳硅材预计,该季度实现归母净利润1.83亿元至2.03亿元,同比大幅上涨397.02%至451.34%。实现扣非净利润2.05亿元至...
证券时报·e公司
吴志
04-04 20:35
智能眼镜第一股,要来了!
近日,XREAL正式向港交所递交招股说明书,中金公司、花旗联席保荐。若公司IPO顺利推进,XREAL有望成为国内智能眼镜首家上市企业。XREAL成立于2017年,公司以自有品牌设计、开发、制造及销售A...
创业资本汇
04-04 20:35
更多
热门解读
更多
视频推荐
更多
热门股票
更多
股票名称
最新价
涨跌幅
APP
公众号
寻求
报道
帮助
反馈
回到
顶部