2月14日,中国铁路总公司下属中铁特货运输有限责任公司(以下简称特货公司)在上海联合产权交易所顺利完成股权转让,这标志着中铁总混改取得又一重大进展,此前备受关注的中铁特货上市进程有望提速。
6家公司底价竞得中铁特货15%的股权
据工商资料显示,特货公司成立于2003年,注册资本184.43亿元,主要从事道路货物运输;特种货物的铁路运输及货物装卸、仓储、配送等业务。此前,中国铁路投资有限公司持股91.79%,18个铁路局集团公司合计持股8.21%。
2018年12月17日,特货公司在上海联合产权交易所挂牌,拟转让部分股权,股权转让价格不低于经评估备案的价值。有分析称,通过转让特货公司部分股权,在实现国有资产保值增值的同时,积极引入社会投资者,努力提升铁路特种货物物流市场竞争力,实现向现代物流企业转型升级。
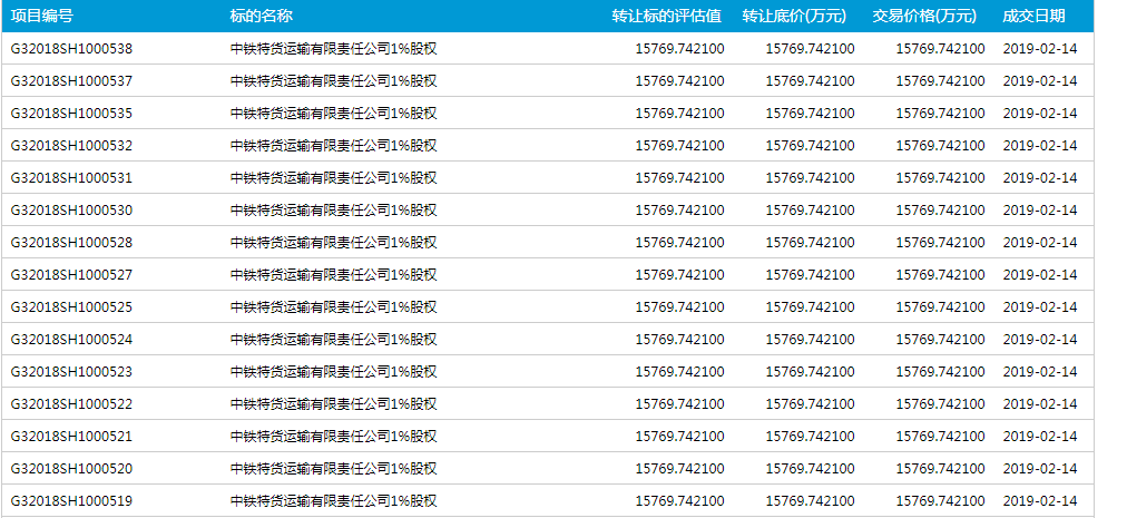
2月14日,上海联合证券交易所发布了特火公司成交公告,证券时报·e公司记者注意到,特货公司的15%的股权被分成了15个标的,每个标的为特货公司1%的股权,转让标的评估价和底价均为1.58亿元。最终,这15个标的交易价格为1.58亿元,相当于均按照底价成交。

中铁总旗下官方微信“中国铁路”透露,按照国有产权交易相关规定,意向投资人通过网络竞价的方式竞买公司股权,最终东风汽车、北京汽车、中车资本、京东物流、普洛斯、中集投资等6家企业取得特货公司15%的股权,成交金额23.65亿元。
据分析,此次股权转让是铁路部门贯彻落实中央关于深化国有企业改革的部署要求和中央经济工作会议精神,加快推动中国铁路总公司股份制改造和混合所有制改革的重要举措,对于推动铁路资产资本化股权化证券化,加快建立现代企业制度,提高铁路特种货物物流服务水平,具有重要意义。此次股权转让完成后,特货公司将继续推进股份制改革,开展上市相关工作。
发力资产证券化中铁总混改提速
2017年以来,自铁路和中铁总分别被列为国企股份制改造的重点行业和企业之后,中铁总的混改便不断有新动作。
按照当时的战略,实施“三步走”战略,即按照“非运输企业-铁路局-总公司” 三步来完成公司制改革。实施情况上,此前18个铁路局已改制为集团有限公司,而中铁集团总公司层面的公司制改革也在稳步推进。公司制的目的是建成公司化的治理结构,实现“政企分开”,这样有利于铁总走向市场经济,以更加市场化的方式灵活地参与竞争。
事实上,在此次以股权挂牌出让的方式吸引知名公司参与,特货公司并不是头一例。
2018年,中铁总公司不仅频频与知名企业会谈,还与腾讯等多家企业共同组建公司。2018年4月,腾讯和吉利控股组成的联合体成功中标动车网络49%的股权转让项目,交易标的为中铁总公司确定的下属企业中唯一经营动车组Wi-Fi的企业。在此基础上,3个月后,由中铁总、吉利和腾讯共同组建的国铁吉讯科技有限公司正式揭牌成立。
2018年8月29日,中铁顺丰国际快运有限公司在深圳揭牌成立,中铁快运占股55%,顺丰占股45%。据悉,该公司经营范围具体包括,高铁快运、快速货物班列等特色物流服务产品研发销售,铁路跨境电商货运平台设计建设等。
梳理中铁总一系列动作可发现,中铁总混改除了频频向知名企业抛出“橄榄枝”,还积极进行资产证券化。据当时公告披露,在此次股权转让后,特货公司将于2019年启动股份制改革、申报首次公开发行股票(IPO)。未来IPO募集资金将规划用于收购三十多块物流场站等,扩大公司经营规模。
另有消息称,中铁总还分别与深交所、上交所达成了战略合作,未来中国铁路总公司旗下的京沪高铁也准备IPO。